Одноступенчатые центробежные насосы TD 250
- TD 250-12.5/4T
- TD 250-14/4T
- TD 250-16/4T
- TD 250-17/4T
- TD 250-19/4T
- TD 250-20/4T
- TD 250-22/4T
- TD 250-26/4T
- TD 250-29/4T
- TD 250-32/4T
- TD 250-36/4T
- TD 250-40/4T
- TD 250-47/4T
- TD 250-50/4T
- TD 250-56/4T
| 
										Тип
									 | TD | 
| 
										Серия
									 | TD | 
| 
										Модель
									 | TD 250 | 
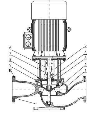
– одноступенчатые центробежные насосы с патрубками одинакового диаметра, расположенными в одну в линию («in-line»).
Насосы оснащены асинхронным электродвигателем с воздушным охлаждением. Конструкция насоса позволяет снять головную часть насоса (двигатель, фонарь и рабочее колесо) для технического или сервисного обслуживания без полного демонтажа насоса с трубопровода.
 
| № | Деталь | Материал | 
| 1 | Корпус насоса | Чугун HT200 | 
| 2 | Крыльчатка | Чугун / Нержавеющая сталь HT200/ZG07Cr19Ni9 | 
| 3 | Фонарь | Чугун HT200 | 
| 4 | Уплотнение вала | BQQE | 
| 5 | Защита | Нержавеющая сталь 06Cr19Ni10 | 
| 6 | Муфта | Чугун ZG270-500 | 
| 7 | Вал насоса | Нержавеющая сталь 20Cr13 | 
| 8 | Пробка для выпуска воздуха | Нержавеющая сталь 06Cr19Ni10 | 
| 9 | Уплотнительное кольцо | Нитрил NBR | 
| 10 | Пробка | Нержавеющая сталь 06Cr19Ni10 | 
Область применения
Одноступенчатые центробежные насосы TD с патрубками («in-line») предназначены для перекачивания воды в системах:- отопления;
- горячего водоснабжения (ГВС);
- вентиляции;
- кондиционирования.
Условия эксплуатации
Насосы серии TD предназначены для перекачивания чистых, маловязких, неагрессивных и взрывобезопасных жидкостей без твердых или длинноволокнистых включений. Перекачиваемая жидкость не должна механически или химически воздействовать на материалы насоса.
Вязкость
Перекачивание жидкостей с плотностью или кинематической вязкостью большими, чем у воды, приводит к падению давления, снижению гидравлических характеристик и увеличению потребления энергии. В этом случае насос должен быть оснащен двигателем большей мощности
 
	 Гидравлические характеристики:
 
 
Размеры
 
| Модель | Размеры, мм | Масса, кг | ||||||||||
| D | B1 | B2 | B3 | B4 | B5 | H1 | H2 | H3 | L1 | L2 | ||
| TD 250-12.5/4T | 400 | 397 | 314 | 316 | 243 | 390 | 300 | 465 | 1417 | 1100 | 550 | 588 | 
| TD 250-14/4T | 450 | 445 | 334 | 316 | 243 | 390 | 300 | 495 | 1469 | 1100 | 550 | 614 | 
| TD 250-16/4T | 400 | 397 | 314 | 316 | 243 | 390 | 300 | 465 | 1417 | 1100 | 550 | 596 | 
| TD 250-17/4T | 450 | 445 | 334 | 316 | 243 | 390 | 300 | 495 | 1492 | 1100 | 550 | 649 | 
| TD 250-19/4T | 450 | 445 | 334 | 316 | 243 | 390 | 300 | 495 | 1469 | 1100 | 550 | 611 | 
| TD 250-20/4T | 550 | 484 | 367 | 316 | 243 | 390 | 300 | 495 | 1568 | 1100 | 550 | 722 | 
| TD 250-22/4T | 450 | 445 | 334 | 316 | 243 | 390 | 300 | 495 | 1492 | 1100 | 550 | 682 | 
| TD 250-26/4T | 550 | 547 | 407 | 329 | 264 | 440 | 300 | 507 | 1667 | 1100 | 550 | 999 | 
| TD 250-29/4T | 550 | 484 | 367 | 329 | 264 | 440 | 300 | 607 | 1580 | 1100 | 550 | 773 | 
| TD 250-32/4T | 550 | 547 | 407 | 329 | 264 | 440 | 300 | 507 | 1687 | 1100 | 550 | 1033 | 
| TD 250-36/4T | 550 | 547 | 407 | 329 | 264 | 440 | 300 | 507 | 1667 | 1100 | 550 | 978 | 
| TD 250-40/4T | 660 | 645 | 535 | 347 | 292 | 440 | 305 | 525 | 1803 | 1200 | 600 | 1389 | 
| TD 250-47/4T | 550 | 547 | 407 | 347 | 292 | 440 | 305 | 485 | 1607 | 1200 | 600 | 1085 | 
| TD 250-50/4T | 660 | 645 | 535 | 347 | 292 | 440 | 305 | 525 | 1990 | 1200 | 600 | 1473 | 
| TD 250-56/4T | 660 | 645 | 535 | 347 | 292 | 440 | 305 | 525 | 1883 | 1200 | 600 | 1389 | 
Гарантийный срок на насосы WELLMIX составляет 2 года со дня продажи.
Листы данных
Задать вопрос
Нет в наличии
